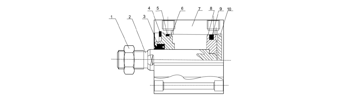
薄型气缸
CQ2系列薄型气缸
1. 磁性开关不凸出:防止损坏磁性开关;磁性开关和导轨牵挂袖□的情况被消除了,提高了操作性和安全性。
2. 减少重量:减少环境的污染
3. 小型磁性开关:可以准确无误地安装到预定位置
4. 防水性提高:可以在水和冷却液的环境使用。
5. 耐强磁场型:可以在交流点焊机等强磁场环境中使用的磁性开关。
6. 减少操作工时:磁性开关更方便安装
7. 减少设计工时:安装磁性开关不会影响气缸的外形尺寸,不需对设备间的干涉进行再次确认。
E-mail: manager@cktworld.com
下载















